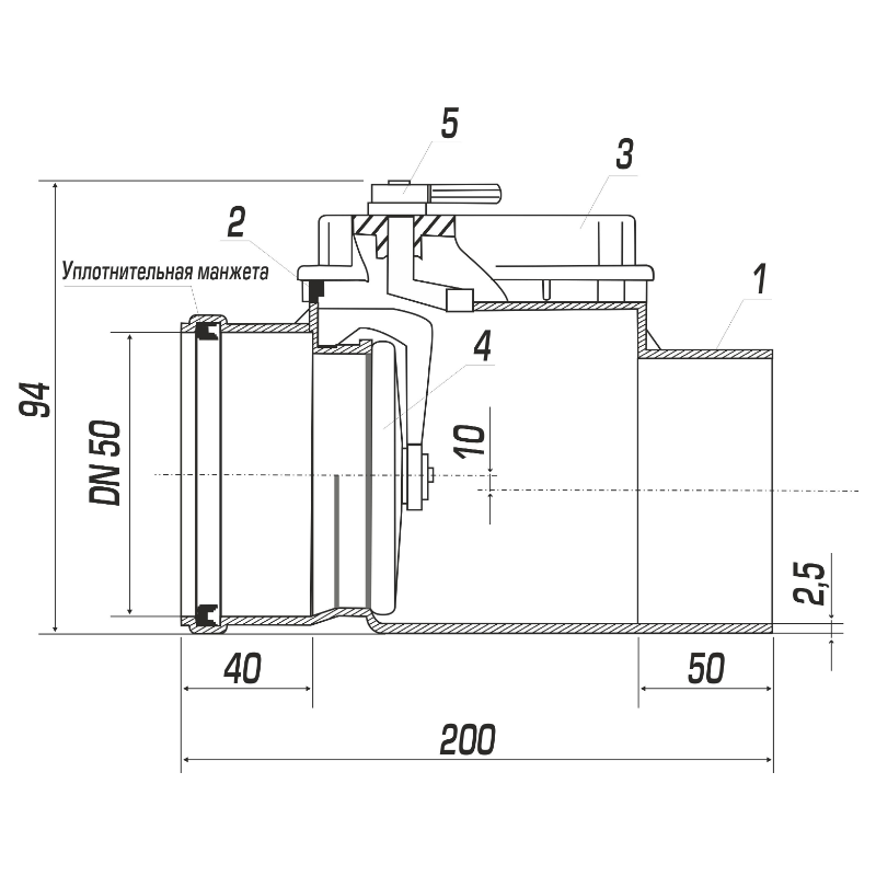
Описание
Клапан обратный канализационный с запирающей заслонкой из профилированной нержавеющей стали с язычковым уплотнением, с ревизионной крышкой и присоединительными выходами под раструбные трубы ПП, ПВХ, с возможностью фиксации заслонки в закрытом состоянии при помощи ручного фиксатора с предохранителем от самопроизвольного закрытия.
Клапан обратный канализационный РТП-110 устанавливается строго горизонтально – либо в подвале здания (перед выходом внутренней канализационной магистрали во внешнюю), – либо в приямке снаружи здания. Таким образом, клапан канализационный отделяет внутреннюю канализационную сеть здания от внешней канализационной сети.
Входной и выпускной патрубки клапана предназначены для соединения с любой канализационной раструбной трубой из ПП или ПВХ. Если для канализации применяются стальная или чугунная безраструбная труба, необходимо использовать переходник с ПП/ПВХ на Чугун/Сталь.































